一、工程概况
某小区室外给排水管线设计CAD施工图
二、设计说明
1、给水管道采用热镀锌钢管管材,埋设深度最浅处1.5米,室外消火栓为地下式消火栓,作法详新02S图集给水阀门井详新02S图集给水阀门选用截止阀,管径DN≤80螺纹连接,DN>100采用镀锌无缝钢管法兰连接,埋地钢管包扎一层玻璃丝布后再刷热沥青一遍.给水管直埋坡度不宜小于0.003.
2、给水管道作1.0MPa水压试验.
3、消火栓和洒水栓接给水管网处应有管道倒流防止器。
4、洒水栓在路边绿化带内安装。
5、室外消防用水量15L/S,消火栓安装间距不大于120米,靠路边安装。
三、图纸展示
给排水平面
采暖给水平面图
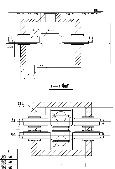
阀门井大样
补偿井详图
阀门井大样2
- 加群专用
- 加入专属土木工程群
-

- 微信公众号
- 关注每天分享工程资料
-






